Apple Image Sensor . apple iphone 13 pro/max vs iphone 14 pro/max main rear camera. One of the most notable new features apple introduced this year is. this marks the first time apple has confirmed it’s using sony semiconductor image sensors for its mobile devices, even if it’s been deduced through other. the iphone 15 impresses with its reliable quality, delivering vibrant images on hdr screens. tim cook has tweeted an admission that apple uses sony image sensors in its iphones as part of the ceo’s supplier tour of japan. apple's upcoming iphone 15 models will be equipped with sony's newest state of the art image sensors, according. apple ceo tim cook has revealed that the iphone has been using sony camera sensors for the last 10 years.
from www.whatdigitalcamera.com
this marks the first time apple has confirmed it’s using sony semiconductor image sensors for its mobile devices, even if it’s been deduced through other. tim cook has tweeted an admission that apple uses sony image sensors in its iphones as part of the ceo’s supplier tour of japan. apple's upcoming iphone 15 models will be equipped with sony's newest state of the art image sensors, according. apple ceo tim cook has revealed that the iphone has been using sony camera sensors for the last 10 years. apple iphone 13 pro/max vs iphone 14 pro/max main rear camera. One of the most notable new features apple introduced this year is. the iphone 15 impresses with its reliable quality, delivering vibrant images on hdr screens.
Sensorshift imagestabilisation system What is it and how does it
Apple Image Sensor the iphone 15 impresses with its reliable quality, delivering vibrant images on hdr screens. apple's upcoming iphone 15 models will be equipped with sony's newest state of the art image sensors, according. the iphone 15 impresses with its reliable quality, delivering vibrant images on hdr screens. tim cook has tweeted an admission that apple uses sony image sensors in its iphones as part of the ceo’s supplier tour of japan. One of the most notable new features apple introduced this year is. this marks the first time apple has confirmed it’s using sony semiconductor image sensors for its mobile devices, even if it’s been deduced through other. apple iphone 13 pro/max vs iphone 14 pro/max main rear camera. apple ceo tim cook has revealed that the iphone has been using sony camera sensors for the last 10 years.
From americajr.com
Introducing Apple Vision Pro Apple’s first spatial computer AmericaJR Apple Image Sensor apple's upcoming iphone 15 models will be equipped with sony's newest state of the art image sensors, according. the iphone 15 impresses with its reliable quality, delivering vibrant images on hdr screens. tim cook has tweeted an admission that apple uses sony image sensors in its iphones as part of the ceo’s supplier tour of japan. One. Apple Image Sensor.
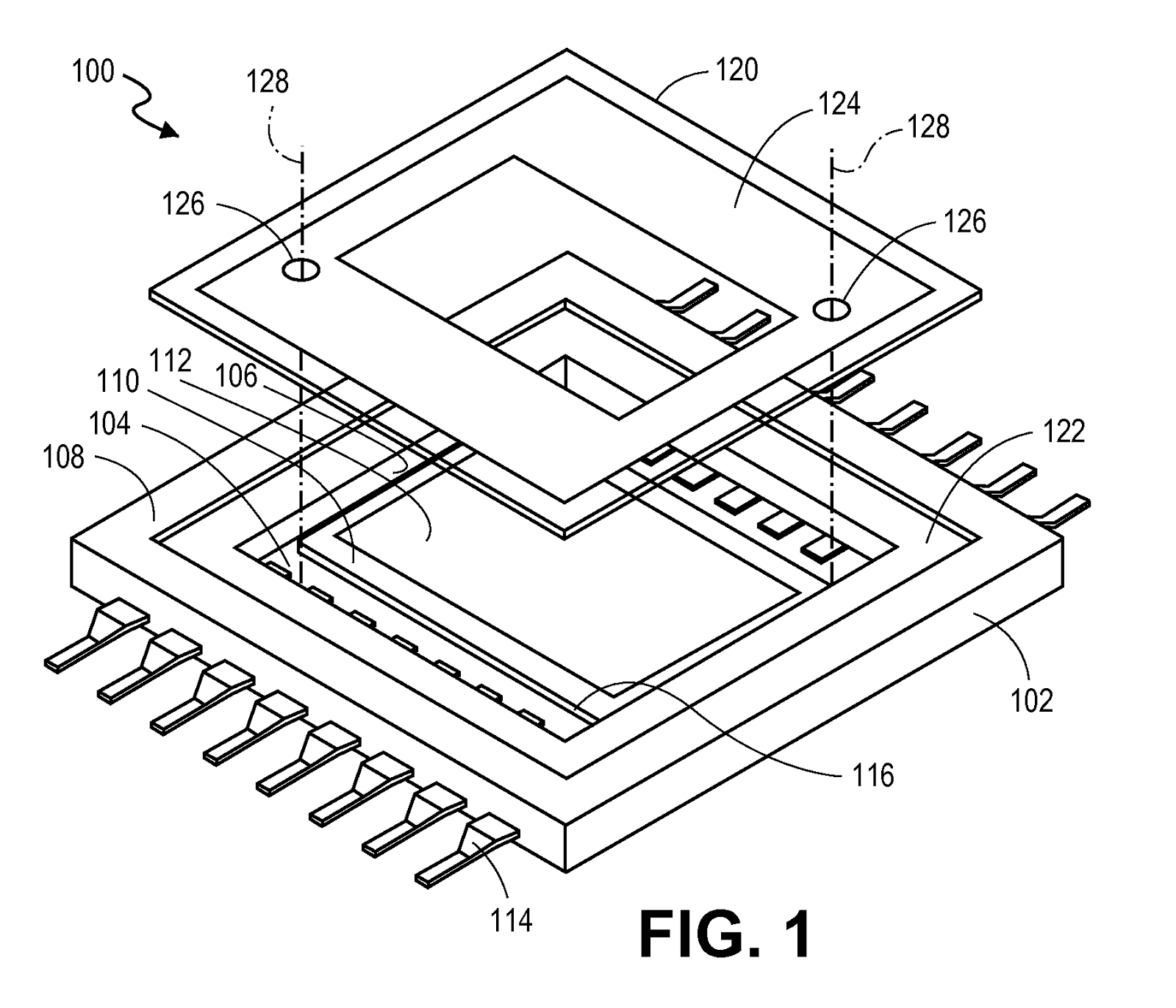
From www.techinsights.com
Apple iPhone 14 Image Sensor Apple iPhone 14 Pro and Pro Max Cameras Apple Image Sensor tim cook has tweeted an admission that apple uses sony image sensors in its iphones as part of the ceo’s supplier tour of japan. the iphone 15 impresses with its reliable quality, delivering vibrant images on hdr screens. this marks the first time apple has confirmed it’s using sony semiconductor image sensors for its mobile devices, even. Apple Image Sensor.
From www.f4news.com
Smartphone Sensor Size Race F4News Apple Image Sensor apple iphone 13 pro/max vs iphone 14 pro/max main rear camera. apple's upcoming iphone 15 models will be equipped with sony's newest state of the art image sensors, according. tim cook has tweeted an admission that apple uses sony image sensors in its iphones as part of the ceo’s supplier tour of japan. apple ceo tim. Apple Image Sensor.
From www.uav1.com
The IR Eye Tracking Innovation in Apple's Vision Pro Apple Image Sensor apple's upcoming iphone 15 models will be equipped with sony's newest state of the art image sensors, according. the iphone 15 impresses with its reliable quality, delivering vibrant images on hdr screens. One of the most notable new features apple introduced this year is. apple iphone 13 pro/max vs iphone 14 pro/max main rear camera. apple. Apple Image Sensor.
From www.whatdigitalcamera.com
Sensorshift imagestabilisation system What is it and how does it Apple Image Sensor this marks the first time apple has confirmed it’s using sony semiconductor image sensors for its mobile devices, even if it’s been deduced through other. the iphone 15 impresses with its reliable quality, delivering vibrant images on hdr screens. One of the most notable new features apple introduced this year is. apple ceo tim cook has revealed. Apple Image Sensor.
From www.oceanproperty.co.th
A Closer Look At Laser Chips That Apple Uses For Its, 51 OFF Apple Image Sensor the iphone 15 impresses with its reliable quality, delivering vibrant images on hdr screens. apple's upcoming iphone 15 models will be equipped with sony's newest state of the art image sensors, according. One of the most notable new features apple introduced this year is. apple ceo tim cook has revealed that the iphone has been using sony. Apple Image Sensor.
From www.theverge.com
The iPadmounted Structure Sensor 3D scanner turns your world into a Apple Image Sensor apple iphone 13 pro/max vs iphone 14 pro/max main rear camera. tim cook has tweeted an admission that apple uses sony image sensors in its iphones as part of the ceo’s supplier tour of japan. this marks the first time apple has confirmed it’s using sony semiconductor image sensors for its mobile devices, even if it’s been. Apple Image Sensor.
From www.royalsblue.com
Samsung patents an optical stabilization system similar to the sensor Apple Image Sensor this marks the first time apple has confirmed it’s using sony semiconductor image sensors for its mobile devices, even if it’s been deduced through other. apple iphone 13 pro/max vs iphone 14 pro/max main rear camera. the iphone 15 impresses with its reliable quality, delivering vibrant images on hdr screens. tim cook has tweeted an admission. Apple Image Sensor.
From mobilesyrup.com
The iPhone 15 series to place proximity sensor in the Dynamic Island Apple Image Sensor the iphone 15 impresses with its reliable quality, delivering vibrant images on hdr screens. apple's upcoming iphone 15 models will be equipped with sony's newest state of the art image sensors, according. apple ceo tim cook has revealed that the iphone has been using sony camera sensors for the last 10 years. apple iphone 13 pro/max. Apple Image Sensor.
From image-sensors-world.blogspot.com
Image Sensors World Apple iPhone Cameras Evolution Apple Image Sensor apple ceo tim cook has revealed that the iphone has been using sony camera sensors for the last 10 years. apple's upcoming iphone 15 models will be equipped with sony's newest state of the art image sensors, according. this marks the first time apple has confirmed it’s using sony semiconductor image sensors for its mobile devices, even. Apple Image Sensor.
From blog.roboflow.com
Using Apple Vision Pro and visionOS with Computer Vision Apple Image Sensor tim cook has tweeted an admission that apple uses sony image sensors in its iphones as part of the ceo’s supplier tour of japan. this marks the first time apple has confirmed it’s using sony semiconductor image sensors for its mobile devices, even if it’s been deduced through other. the iphone 15 impresses with its reliable quality,. Apple Image Sensor.
From image-sensors-world.blogspot.com
Image Sensors World Apple Applies for Sensor Cover Alignment Patent Apple Image Sensor the iphone 15 impresses with its reliable quality, delivering vibrant images on hdr screens. apple iphone 13 pro/max vs iphone 14 pro/max main rear camera. tim cook has tweeted an admission that apple uses sony image sensors in its iphones as part of the ceo’s supplier tour of japan. apple ceo tim cook has revealed that. Apple Image Sensor.
From image-sensors-world.blogspot.com
Image Sensors World Bloomberg Apple Relaxes Face ID Projector Tolerances Apple Image Sensor One of the most notable new features apple introduced this year is. tim cook has tweeted an admission that apple uses sony image sensors in its iphones as part of the ceo’s supplier tour of japan. apple's upcoming iphone 15 models will be equipped with sony's newest state of the art image sensors, according. apple ceo tim. Apple Image Sensor.
From techcrunch.com
The Apple Vision Pro features an M2 chip, a ton of sensors and a new R1 Apple Image Sensor this marks the first time apple has confirmed it’s using sony semiconductor image sensors for its mobile devices, even if it’s been deduced through other. apple iphone 13 pro/max vs iphone 14 pro/max main rear camera. apple ceo tim cook has revealed that the iphone has been using sony camera sensors for the last 10 years. . Apple Image Sensor.
From image-sensors-world.blogspot.com
Image Sensors World TechInsights on new iPhone 14 camera module Apple Image Sensor this marks the first time apple has confirmed it’s using sony semiconductor image sensors for its mobile devices, even if it’s been deduced through other. apple's upcoming iphone 15 models will be equipped with sony's newest state of the art image sensors, according. apple ceo tim cook has revealed that the iphone has been using sony camera. Apple Image Sensor.
From www.techspot.com
Apple eyes Sony's advanced image sensor for iPhone 15 TechSpot Apple Image Sensor this marks the first time apple has confirmed it’s using sony semiconductor image sensors for its mobile devices, even if it’s been deduced through other. One of the most notable new features apple introduced this year is. apple ceo tim cook has revealed that the iphone has been using sony camera sensors for the last 10 years. . Apple Image Sensor.
From www.nextpit.com
Apple's watches may employ a fully accurate temperature sensor Apple Image Sensor the iphone 15 impresses with its reliable quality, delivering vibrant images on hdr screens. tim cook has tweeted an admission that apple uses sony image sensors in its iphones as part of the ceo’s supplier tour of japan. One of the most notable new features apple introduced this year is. this marks the first time apple has. Apple Image Sensor.
From www.gizbot.com
Apple iPhone 15 Could Pack Sony's Most Advanced Image Sensor; Periscope Apple Image Sensor apple iphone 13 pro/max vs iphone 14 pro/max main rear camera. tim cook has tweeted an admission that apple uses sony image sensors in its iphones as part of the ceo’s supplier tour of japan. apple's upcoming iphone 15 models will be equipped with sony's newest state of the art image sensors, according. One of the most. Apple Image Sensor.